自从史蒂夫·乔布斯 (Steve Jobs) 于 2007 年带来第一款智能手机以来,咱们就一直在重视折叠式 iPhone 的风闻。可是,这次有一些风趣的依据支撑它——一项新专利听起来或许会带来相似电话和其他设备的规划。

多年来,三星一直在讪笑苹果在开发可折叠手机方面的缓慢,好像回归翻盖式设备是不可避免的前进。美国专利商标局周二颁发的这项专利请求标明,苹果至少在探究这个挑选,并且没有物理按钮。
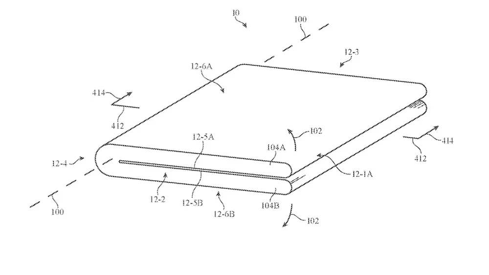
新专利,描绘了电子设备的概念,包含可折叠设备,在其整个外表上都有接触感应操控区域。每个外表都可所以接触输入,包含反面和侧壁。
该请求指出,“搜集用户的接触输入并有效地为用户显现图画或许具有挑战性。例如,当用户向接触屏显现器供给接触输入时,用户的手或许会挡住图画”。Apple 的潜在解决方案是在更多当地进行接触输入,例如操控相机、音量、亮度。这个概念能够应用于一系列设备,但应用程序中的示例图画看起来最像手机,这是这个概念最有含义的当地。
接触传感器层能够被设备的每一侧的外玻璃面板“堆叠”,包含曲折的侧壁。该请求还说到“将显现器包裹在部分或悉数设备周围”。设备反面的接触传感器听起来或许很古怪,但苹果公司表明它们能够有“游戏应用程序”。
关于可折叠设备,该专利指出,运用答应设备曲折的“弹性资料”的翻盖规划能够完成相同的可接触性。通明接触传感器将再次出现在设备壁上,而“外壳”将答应设备“沿着一个或多个折叠轴折叠一次或屡次”。
现在,一款能够屡次折叠并在每个外表都能够接纳接触输入的手机听起来像是手机规划的一个根本性改动,并且在诉苦手机多年来没有改动的情况下,它或许会遭到欢迎。该专利还遵从了苹果现已经过移除按钮进入 iPhone 的方向。咱们之前听过许多关于 iPhone 方案运用触觉按钮而不是真实的点击按钮的信息。
或许顾客首要关怀的是结构的强度和耐用性,由于您或许无法将这种设备放入iPhone 外壳中。Apple 说到了“通明和不通明资料”,包含塑料、金属、纤维复合资料或通明玻璃或塑料涂层。值得一提的是,专利请求并不一定意味着公司有意制作所描绘的产品。还出于营销原因或避免竞赛而请求专利。